Le brevet Valve VR suscite de nouveaux espoirs concernant le casque Deckard autonome selon la rumeur
Le casque VR le plus récent de Valves était le Valve Index de 2019, très puissant et à prix élevé. Mais des rumeurs circulent depuis longtemps selon lesquelles la société travaille sur un autre appareil, un casque autonome nommé Deckard. Eh bien, ici pour donner un nouveau souffle à cette rumeur, une demande de brevet récemment publiée par la société pourrait révéler Deckard lui-même.
Bien sûr, les mises en garde habituelles s’appliquent : les brevets sont des brevets, pas des feuilles de route de produits. Et le langage utilisé dans les applications comme celle-ci est si délibérément large qu’il résiste à une lecture attentive.
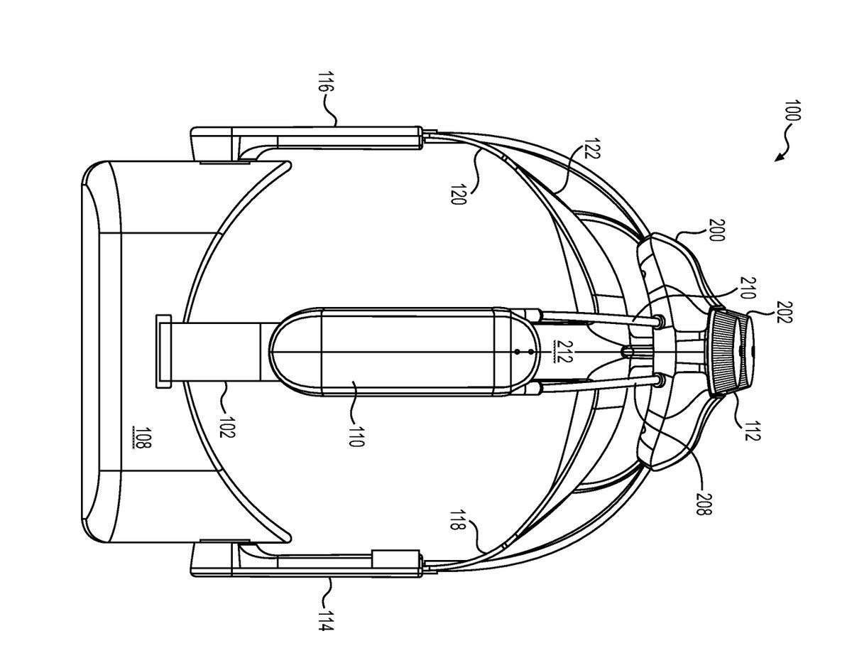
Mais les images ah, les images racontent une histoire. Ou du moins, ils laissent suffisamment de latitude à votre imagination pour raconter une histoire qui lui est propre, sur le parfait casque VR autonome construit par Valve lui-même. Peut-être. Vous pouvez juger par vous-même ci-dessous :




Il n’est probablement pas judicieux de considérer ces images comme le brouillon d’un casque Deckard. En fait, la majeure partie de la partie écrite des brevets concerne (de manière assez détaillée) le serre-tête des appareils et la manière exacte dont les utilisateurs peuvent le serrer et le desserrer pour un ajustement optimal. Si vous vous sentiez comme un peu de spéculation inutile, vous pourriez comparer cet accent sur l’ajustement aux plaintes selon lesquelles l’Index était particulièrement volumineux, mais donner la priorité au confort n’est guère surprenant pour un casque VR.
Plus notable, peut-être, est la dernière série de fuites de données sur Deckard, extraites du code officiel de Brad Lynch, un YouTuber qui a suivi le développement de Deckard aussi assidûment que, eh bien, un chasseur de primes qui s’attaque à un réplicant.
Dans une récente vidéo YouTube, Lynch a sorti un certain nombre d’outils de développement codés par Deckard et autres de la dernière version bêta de SteamVR, suggérant que Valve est assez loin dans la production de ce que ce nouveau casque pourrait devenir. Et avec le récent lancement du Steam Deck prouvant que Valve peut encore surprendre, ravir (et frustrer) avec ses efforts matériels, peut-être que Deckard lui-même se rapproche vraiment. Surveillez cet endroit.